聯系我們

咨詢熱線:
13176718765
座機:0536-3729555
郵箱:wfthzg@126.com
地址:山東省臨朐縣東城街道南二環3222號斗式定量給料機(斗式秤)
產品概述
該系統集失重秤和皮帶秤的優點于一體,是一種更新、更完美的產品。他可任意調節各種趣聊的下料速度,并有效的克服了庫房高度低,入秤粒度大,濕度大等計量不利因素,是新建、擴建、原生產線改造的理想產品。
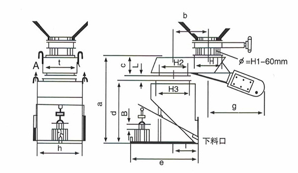
技術參數
型號 | a | d | c | L | b | H1 | H2 | H3 | e | f | g | h | i | 單產 | 半容量 | 電振機 |
TH-150 | 1150 | 830 | 255 | 50 | 450 | 315 | 330 | 450 | 910 | 310 | -800 | 500 | 450 | 35t/h | 145kg | 450W |
TH-100 | 1035 | 730 | 255 | 50 | 450 | 315 | 330 | 400 | 810 | 260 | -800 | 450 | 350 | 20t/h | 103kg | 350W |
TH-60 | 915 | 630 | 235 | 50 | 450 | 260 | 290 | 350 | 710 | 240 | -700 | 400 | 300 | 10t/h | 58kg | 250W |